英飞凌TLE9564QX:汽车级BLDC电机系统IC完整技术指南

(infineon TLE9564QX)
一、产品型号详解
1.1 型号标识与封装
型号 | 封装类型 | 标记代码 | 封装尺寸 | 工作温度范围 |
TLE9564QX | PG-VQFN-48-70 | TLE9564 QX | 7mm×7mm | -40°C +150°C |
TLE9564QXXUMA1 | 卷带包装 | - | - | AEC-Q100 Grade 0 |
封装特性:
- VQFN-48无引脚功率封装:支持光学焊点检测(AOI),满足汽车级生产要求
- 裸露焊盘(Exposed Pad):优化散热性能,热阻RthJA=25K/W
- RoHS合规:绿色产品,符合环保标准
1.2 产品系列定位
TLE9564QX属于英飞凌MOTIX™ TLE956x电机系统IC家族,专为三相无刷直流(BLDC)电机控制设计。该系列通过集成电源管理、通信接口与功率驱动,实现"单芯片替代多分立器件"的系统级解决方案。
同系列产品对比:
型号 | 通信接口 | 电机类型 | 预驱电流 | 应用场景 |
TLE9564QX | LIN 2.2 | BLDC三相 | 150mA | 辅助泵、风扇、天窗 |
TLE9563-3QX | CAN FD/CAN PN | BLDC三相 | 150mA | 高速通信需求场景 |
TLE9562-3QX | CAN FD + LIN | 有刷直流 | 150mA | 多电机控制系统 |
TLE9560-3QX | CAN FD | 有刷直流 | 100mA | 单电机应用 |
关键区别:TLE9564QX与TLE9563-3QX在引脚和软件层面完全兼容,主要差异在于通信接口(LIN vs CAN FD)及唤醒引脚数量(1个 vs 2个),便于客户根据整车网络架构灵活选型。
二、核心应用场景
2.1 汽车电子应用(主要目标市场)
TLE9564QX通过AEC-Q100 Grade 0认证,适用于以下汽车级BLDC电机控制场景:
热管理系统
- 电子水泵:发动机冷却循环、电池包热管理
- 电子油泵:变速器润滑、电机冷却
- 冷却风扇:发动机散热、空调冷凝器
车身舒适系统
- 天窗模块:防夹控制与位置检测
- 电动尾门:力矩控制与防夹保护
- 座椅通风:静音风扇驱动
动力总成辅助
- 变速箱执行器:换挡机构驱动
- 分动箱控制:四驱模式切换
2.2 工业与智能家居延伸应用
虽然专为汽车设计,其高可靠性特性也适用于:
- 智能窗帘:静音电机控制(25kHz PWM消除音频噪声)
- 扫地机器人:主刷与边刷电机驱动
- 无人机云台:精密位置控制
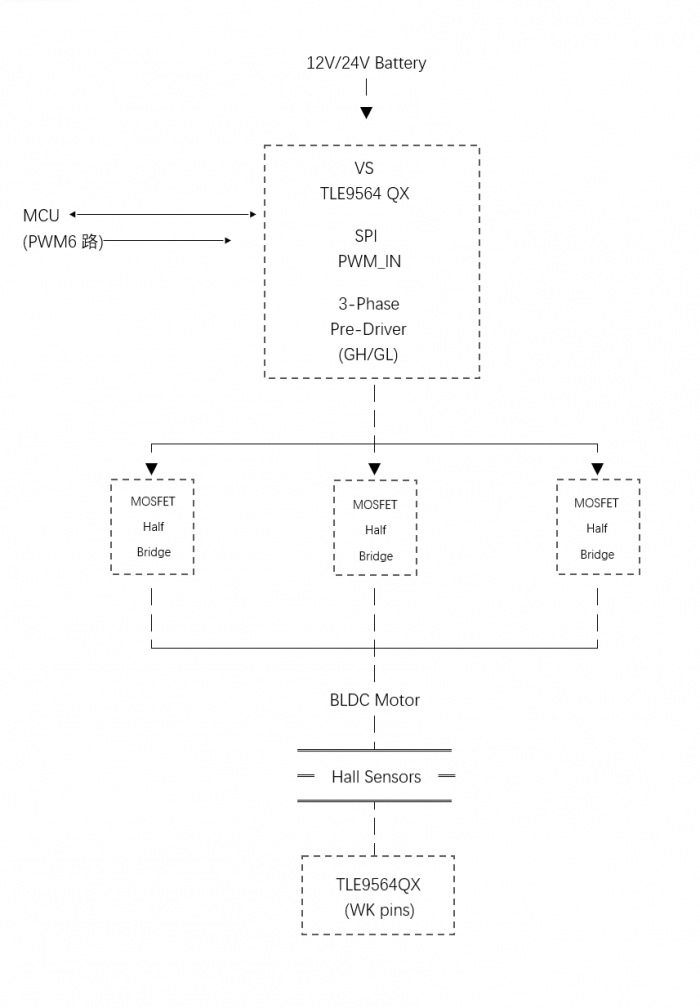
三、工作原理与系统架构
3.1 内部功能框图
TLE9564QX采用系统级芯片(System Basis Chip, SBC)架构,将以下功能集成于单芯片:
电源管理单元 (PMU) • 5V LDO稳压器 (250mA输出) • 反极性保护MOSFET控制 • 多路电源监控 (VS, VCC1) |
通信接口单元 • LIN收发器 (LIN 2.2/SAE J2602) • TXD超时保护与总线 dominant钳位 |
电机驱动单元 • 3相半桥预驱 (6个N沟道MOSFET驱动) • 自适应栅极控制 (专利算法) • 150mA恒流栅极充电 |
信号采集与保护 • 低边电流检测放大器 (CSA) • 漏源极监控 (VDS监测) • 开路与短路检测 |
控制与诊断接口 • 32位SPI接口 (带CRC校验) • 6路PWM输入 (支持25kHz) • 3路高边开关 (7Ω典型值) • 窗口看门狗与超时保护 |
3.2 自适应MOSFET控制技术(核心创新)
TLE9564QX采用英飞凌专利自适应栅极控制算法,通过多阶段压摆率调节实现EMC与效率的最优平衡:
工作原理:
1. 测量阶段:实时监测外部MOSFET的实际开关时间
2. 调节阶段:通过SPI配置的目标开关时间,自动调整栅极驱动电流
3. 优化阶段:在PWM模式下动态平衡开关损耗与电磁辐射
技术优势:
- EMC优化:独立于死区时间的压摆率调节,降低dV/dt噪声
- 生产效率:自动补偿MOSFET批次差异,减少产线校准时间(EOL节省约2秒)
- 功率密度:支持大栅极电荷MOSFET(Qg>100nC),驱动高功率电机
3.3 状态机与电源管理
芯片内置7状态电源管理状态机,优化静态功耗:
工作模式 | 功耗特性 | 功能可用性 | 典型应用场景 |
Normal Mode | 全功能运行 | 所有功能可用 | 电机正常运行 |
Stop Mode | 降低时钟频率 | 寄存器保持,部分外设关闭 | 待机等待唤醒 |
Sleep Mode | 极低静态电流 | 仅唤醒源可用 | 车辆熄火休眠 |
Fail-Safe Mode | 安全状态 | 受控关断,错误标志置位 | 故障保护 |
Restart Mode | 自动重启序列 | 初始化自检 | 故障恢复 |
唤醒机制:
- 循环感应(Cyclic Sense):周期性检测外部事件(如霍尔传感器变化),无需持续供电
- 循环唤醒(Cyclic Wake):定时自动唤醒进行系统巡检
- 外部唤醒:LIN总线活动或专用唤醒引脚(WK0-WK3)
四、详细技术参数
4.1 绝对最大额定值
参数 | 符号 | 最小值 | 最大值 | 单位 | 测试条件 |
电源电压 | VS | -0.3 | +40 | V | - |
逻辑输入电压 | VIN | -0.3 | +6.0 | V | - |
MOSFET栅极驱动电压 | VGH | -0.3 | +16 | V | - |
结温 | TJ | -40 | +175 | °C | - |
ESD防护(HBM) | VESD | ±2 | - | kV | 所有引脚 |
4.2 电气特性(TA = -40°C to +150°C, VS = 6V to 28V)
功能 | 参数 | 符号 | 典型值 | 范围 | 单位 |
电源管理 | 输入电压范围 | VS | - | 6~28 | V |
5V LDO输出电压 | VCC1 | 5.0 | 4.9~5.1 | V | |
LDO最大输出电流 | ICC1_max | - | 250 | mA | |
LDO压差(Dropout) | Vdrop | 200 | 500 | mV @ 100mA | |
通信接口 | LIN收发器波特率 | - | 20 | - | kbaud |
LIN显性电平 | Vdom | 1.4 | <1.5 | V | |
LIN隐性电平 | Vrec | - | 0.8×VS | V | |
电机驱动 | 栅极驱动电流(充电) | IG_source | 150 | 100200 | mA |
栅极驱动电流(放电) | IG_sink | 300 | 200400 | mA | |
死区时间(可调) | tDT | 1.0 | 0.5~3.0 | μs | |
PWM输入频率 | fPWM | - | 25 | kHz | |
电流检测 | CSA增益选项 | GCSA | 10/20/40/60 | - | V/V |
CSA带宽 | BWCSA | 200 | - | kHz | |
CSA输入失调电压 | VOS | ±1 | ±5 | mV |
4.3 保护功能参数
保护功能 | 触发阈值 | 响应时间 | 恢复机制 |
VCC1欠压锁定(UV) | <4.5V | <10μs | 自动重启 |
VCC1过压保护(OV) | 5.5V | <10μs | 可配置重启或Fail-Safe |
过温关断(TSD2) | 175°C | <10μs | 温度回降15°C后重启 |
半桥直通保护 | VDS>Vth | <5μs | 硬件互锁+软件标志 |
看门狗超时 | 可配置10ms1s | - | 复位或重启 |
五、典型应用电路
5.1 BLDC电机控制完整方案

关键设计要点:
1. 电源退耦:VS引脚需配置10μF电解电容+100nF陶瓷电容并联
2. 栅极电阻:利用自适应控制特性,栅极电阻可选0Ω10Ω,无需精确匹配
3. 电流采样:在低端MOSFET源极与地之间接入采样电阻(典型5mΩ),连接至CSA输入
4. EMC布局:功率地(PGND)与信号地(SGND)在芯片下方单点连接
5.2 反极性保护与电源管理
芯片支持外部反极性保护MOSFET控制,通过RP引脚驱动P沟道MOSFET,在电池反接时自动切断电源路径,保护后端电路。
六、开发支持与工具链
6.1 硬件评估工具
工具名称 | 型号 | 功能描述 |
BLDC Shield评估板 | BLDC_SHIELD_TLE956X | Arduino兼容扩展板,集成TLE9564QX与功率MOSFET,支持即插即用评估 |
UIO-Stick调试器 | - | USB转SPI/LIN接口,配合ConfigWizard图形配置工具 |
6.2 软件支持
- ConfigWizard配置工具:图形化界面配置寄存器参数,自动生成初始化代码
- 设备驱动库:提供标准化API,简化SPI通信与故障诊断代码开发
- Arduino示例代码:包含霍尔传感器BLDC六步换相、无传感器FOC等参考实现
七、常见问题解答(FAQ)
Q1: TLE9564QX与TLE9563-3QX的主要区别是什么?能否直接替换?
A: 两款芯片在引脚布局和软件寄存器层面完全兼容,主要差异在于:
- 通信接口:TLE9564QX集成LIN收发器,TLE9563-3QX集成CAN FD(5Mbps)与CAN PN收发器
- 唤醒引脚:TLE9564QX提供1个多功能唤醒引脚(WK4/SYNC),TLE9563-3QX提供2个(WK4/SYNC, WK5)
- 应用场景:LIN版本适用于车身控制模块,CAN版本适用于动力域或需要高速通信的场景
直接替换可行性:若仅需变更通信协议,可在同一PCB设计上直接替换芯片并更新软件配置,无需重新Layout。
Q2: 自适应MOSFET控制是否需要外部栅极电阻?如何优化EMC?
A: 不需要精确匹配的外部栅极电阻。自适应控制通过内部恒流源(150mA)自动调节开关时间,工程师仅需:
1. 通过SPI配置目标上升/下降时间(典型100ns500ns可调)
2. 芯片自动测量实际开关波形并闭环调节驱动电流
3. 在PWM模式下,芯片动态优化开关损耗与EMC平衡
EMC优化建议:
- 设置较慢的压摆率(如500ns)降低高频辐射
- 利用独立死区时间配置(0.53μs)避免直通
- 在VS引脚增加共模电感抑制传导干扰
Q3: 如何实现无传感器FOC控制?是否需要额外硬件?
A: TLE9564QX支持无传感器FOC(Field Oriented Control)方案,利用内置CSA实现单电阻或三电阻电流采样:
- 硬件:仅需在低端MOSFET回路接入采样电阻(510mΩ),无需霍尔传感器
- 软件:通过CSA读取相电流,结合反电动势观测器估算转子位置
- 优势:省去霍尔传感器成本(约节省0.12欧元),提高系统可靠性
配置要点:设置CSA增益(10/20/40/60 V/V)匹配采样电阻与电机电流范围,确保ADC分辨率最优。
Q4: 芯片在睡眠模式下如何实现电机刹车功能?
A: TLE9564QX支持低功耗睡眠模式下的主动刹车:
- 机制:在Sleep Mode下,芯片保持对VS电压的监测,当检测到电机被外力拖动产生的反电动势(发电模式)时,自动激活低端MOSFET形成短路制动
- 保护:防止未供电状态下手动操作(如关闭天窗)产生的高压损坏ECU
- 电流:睡眠模式静态电流<50μA,满足整车休眠电流预算
对比优势:相比外部刹车电路方案,集成方案节省约0.05欧元BOM成本,并降低静态功耗。
Q5: 如何获取TLE9564QX样品与技术支持?
A: 作为英飞凌授权代理商,粤科源兴科技提供:
- 免费样品:TLE9564QXXUMA1(VQFN-48封装),支持AEC-Q100 Grade 0验证
- 当日发货:常备库存,缩短研发等待周期
- 技术文档:完整228页数据手册、应用笔记《BLDC Gate Driver Setting Guide》、安全应用说明(ISO 26262相关)
- FAE支持:复杂控制算法(如无传感器FOC)实现指导,协调英飞凌原厂工程师深度支持
样品申请需知:请提供项目信息(应用领域、预计用量、时间节点),以便匹配最优技术支持方案。
八、选型决策指南
8.1 选择TLE9564QX的条件
✅推荐场景:
- 三相BLDC电机控制(水泵、风扇、执行器)
- 整车网络为LIN总线(车身控制域)
- 需要高集成度压缩PCB面积(目标<400mm²)
- 要求AEC-Q100 Grade 0汽车级认证
- 需要自适应栅极控制优化EMC
❌不建议场景:
- 需要CAN FD高速通信(选择TLE9563-3QX)
- 有刷直流电机控制(选择TLE9560/61/62系列)
- 输入电压>28V(需外部稳压预处理)
8.2 竞品对比
特性 | TLE9564QX | 分立方案(LDO+LIN+预驱) | 竞品集成方案 |
芯片数量 | 1 | 4~6 | 1~2 |
PCB面积 | 350mm² | 600~800mm² | 400~500mm² |
自适应栅极控制 | ✅ 专利支持 | ❌需外部电阻 | ⚠️ 部分支持 |
睡眠模式刹车 | ✅集成 | ❌需外部电路 | ⚠️ 部分支持 |
开发周期 | 2~4周 | 6~8周 | 3~5周 |
九、资源下载
规格书:
关于本文档
本文技术参数来源于英飞凌官方数据手册(Rev. 2.0, 2023)及应用笔记。如需获取最新文档或申请样品,请联系英飞凌授权代理商——深圳市粤科源兴科技有限公司。
免责声明:本文档仅供参考,具体设计请结合实际应用验证。英飞凌保留对产品规格进行变更的权利,恕不另行通知。








